Though the Disney water parks remain closed, that hasn’t stopped Disney from working behind the scenes to enhance the experience at a water park!
Blizzard Beach and Typhoon Lagoon both have some awesome tube slides, and the lines can get pretty long. Well, Disney’s new water slide BRAKE technology could mean shorter lines in the long run!
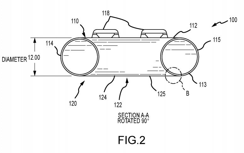
We love checking out new Disney tech and we recently spotted a patent for a “water slide tube with braking while hydroplaning.” That’s right, this tube can slow itself down, even when it’s skimming across the top of the water at a high speed! These tubes are designed with drag-increasing additions to help slow to a stop.
Disney notes in the patent that the reason lines get so long for some water slides is that a new guest cannot get on the slide until the guest at the bottom disembarks. This means that the longer it takes for a tube to stop at the bottom of a slide, the longer it takes for the line to move. With brakes, these tubes could help to significantly increase the throughput of tube water slides!
It’s always SO interesting seeing the tech that Disney comes up with! Who knew that water slides needed breaks? It’ll be interesting to see if we start seeing tubes replaced with these new models in the Disney water parks or elsewhere in Disney World. You know we’ll be sure to report in if we spot them!
Click here to find out which Disney World water park we think is BETTER!
Join the DFB Newsletter to get all the breaking news right in your inbox! Click here to Subscribe!
WE KNOW DISNEY.
YOU CAN, TOO.
Oh boy, planning a Disney trip can be quite the adventure, and we totally get it! But fear not, dear friends, we compiled EVERYTHING you need (and the things to avoid!) to plan the ULTIMATE Disney vacation.
Whether you're a rookie or a seasoned pro, our insider tips and tricks will have you exploring the parks like never before. So come along with us, and get planning your most magical vacation ever!
What do you think of these new water slide brakes? Tell us in the comments!




Our handy (and portable!) ebook guides make sure you get the best deals and can plan a vacation of a lifetime.

TRENDING NOW
A new store is coming to Disney Springs SOON.
We're taking a closer look at some of the updated developments for two of Disney...
I refuse to ride this 5-minute boat ride in Disney World.
These Disney Adult essentials are available RIGHT NOW on Amazon!
Amazon is loaded with Disney deals this week!
Here are 11 FREE options to do instead so you can still enjoy the Christmas...
If you're only visiting Disneyland Resort when you vacation then you're missing out on A...
These things might change your Disney World plans if you're heading there in December so...
We've been on every single ride in every single park multiple times, so we can...
These pro tips can help you start your Disney World day on a good note!
Grab these Disney Advent calendars while they're on sale!
It has been a cold winter, but we are here with 7 Disney soup recipes...
We know this new Zero Starbucks Tumbler is going to sell out fast!
Bookings open for a very popular Disney World offering soon!
While you're planning your Disney World trip, let's talk about the dress code rules Disney...
Iconic mannequins from The Great Movie Ride have returned to the park after EIGHT years...
Come with us to check out the new souvenirs for Disney's Jollywood Nights 2025.
We have a list of ALL the pay-per-rides coming to Disney World through Disney Genie!
We're not here to tell you what you SHOULDN'T wear to Disney World...but you may...
Bluey fans will love this Advent Calendar.