Disney has a way of bringing seemingly real magic to our experiences around the parks.
Through the use of new and innovative technology, Disney can have you waving goodbye to water, soaring through the galaxy, and riding on the back of a banshee on a different planet. All of this is made possible by Disney’s team of Imagineers. These creative geniuses design and create new ways of experiencing parks all the time. Five yet-to-come attraction designs have been patented that, if they were to come to the parks, we would shovel out all our money to experience them!
Through patents, Disney brainstorms ideas and new ride or attraction concepts. These are just potential new experiences and are not guaranteed or announced. BUT, if we saw these patents come to life, we would be running to the parks immediately.
An Interesting Boat Ride
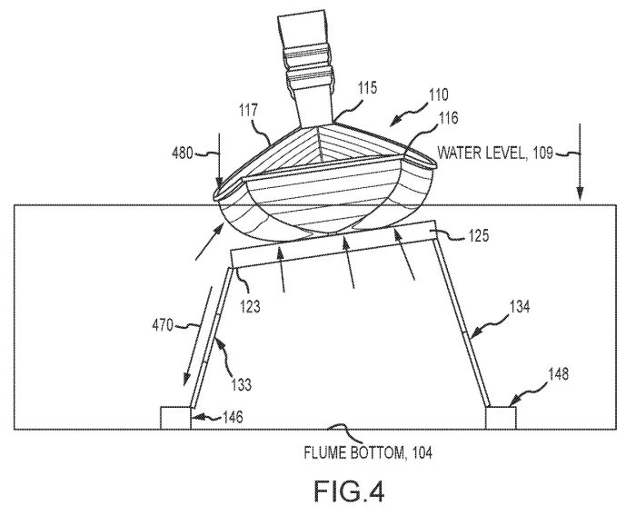
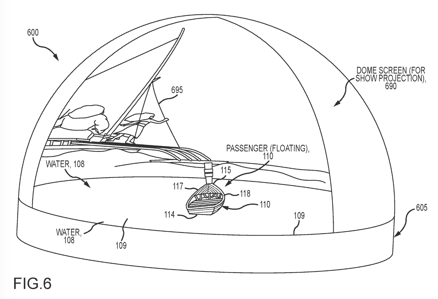
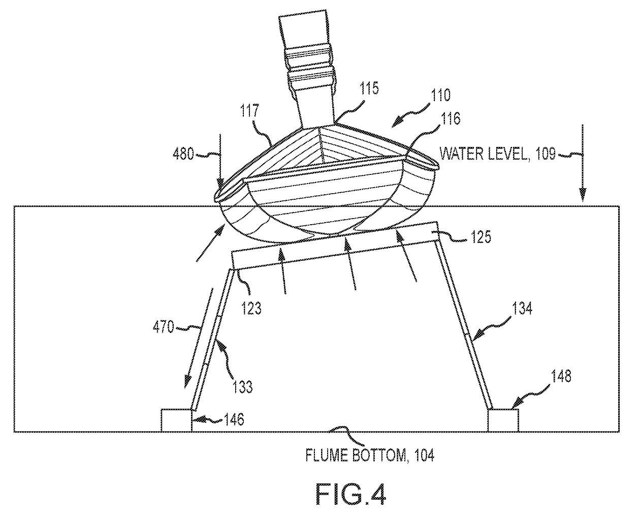
Back in July 2021, Disney filed a patent for a “Boat Motion Simulator”. The patent officially took effect on October 25th, 2022, and is described as a ““system configured specially to impart boat-type motions (e.g., roll, sway, heave, pitch, surge, and yaw) to a passenger boat.” The boat would float on water as usual, but it will also be able to ““display imagery and a soundtrack that are synchronized with the motions imparted upon the boat.”
What is really interesting about this patent is that in one image you can see Moana and Maui on the dome screen where a show would be projected. This makes us wonder if this patent was originally for a Moana attraction when a Moana-themed land had been proposed for the Dinoland expansion in Disney’s Animal Kingdom.
Now that the Animal Kingdom “blue sky” idea has changed to include Encanto or Indian Jones, we wonder what else could be in store for this ride idea. Instead of floating by scenes like Pirates of the Caribbean, the scenes are all around you like in Flight of Passage. It also seems there would be mechanics under the boat that make it move and react to what’s happening around you.
This ride system would be a huge upgrade to the classic boat ride systems we still see today.
Moving Map Projections
A newer Disney patent, dated March 14th, 2023, is for a piece of technology called “Relative Surface Traveling Map Projection Process.” As in, projecting onto surfaces near the traveling projector using projection mapping. This projector patent is looking to seamlessly project scenes onto buildings, screens, statues, rocks, or other things while MOVING.
We see projection-mapping all the time in Disney World. It’s how the shows fit so perfectly onto Cinderella Castle and the walls of Muppet Vision 3D. But now it appears Disney wants to be able to do that while the projector and/or the “screen” (whatever the object may be) is moving. Disney specifically mentions using it as part of something like a parade float, which you can see in the images.
This would take viewing entertainment to another level and dimension.
Suddenly Dropping Park Ride
In 2022, we found a patent for a “Park Ride with Drop Swing Propulsion” The ride looks as exciting and scary as it sounds! This ride would be a normal ride with “a track defining a ride path for a passenger vehicle” that is configured “with two or four or more wheels, to roll upon and engage the track.”
But then it takes a turn (or should we say drop) for something entirely new and never seen before –it “includes a drop swing propulsion system that is adapted to drop a section of track upon which the passenger vehicle is supported from a first elevation to a second elevation that is lower than the first elevation.”
This ride would drop the track with the ride vehicle to a lower track, and then the force from the drop would propel the vehicle forward. With the new 360-degree ride vehicle roller-coaster, Guardians of the Galaxy: Cosmic Rewind, and now this, nobody can say Disney isn’t getting into thrill rides!
The patent describes, ““The new park ride design is particularly well suited for use in roller coasters, water rides, and the like in which vehicles are configured to ride or roll, at least a portion of the time, upon a track.” And it was created for the “need for a new way to surprise people when they experience a park ride or attraction they think they know such as a roller coaster, a water ride, and so on.” To say we would be utterly surprised if we started dropping from a track on a roller coaster would be an understatement. But we would pay big money to do it!
Character Robots
Several years ago, Disney filed a patent for a “Legged High-dexterity Self-balancing Capable Robot Actor.” The pictures from the patent looked very similar to the police rabbit we all know – Judy Hopps.
We also saw a robot at a D23 event that also looked very similar to Judy Hopps doing some sick tricks!
Then we saw a WALKING true-to-size Baby Groot robot with Project Kiwi!
And most recently, we saw droids roaming around Galaxy’s Edge in Disneyland!
https://twitter.com/DisneyDan/status/1712513942755451095?ref_src=twsrc%5Etfw%7Ctwcamp%5Etweetembed%7Ctwterm%5E1712513942755451095%7Ctwgr%5Ee02fb728d15fdb4252d5fe387a3174ad2c829a78%7Ctwcon%5Es1_&ref_url=https%3A%2F%2Fwww.disneyfoodblog.com%2F2023%2F10%2F12%2Fpeople-are-loving-disneys-new-wandering-droids-youve-gotta-see-why%2F
All of this to say, if Disney started having true-to-size robotic characters in the parks, we would be there in a flash!
Interactive Toy
You have heard of interactive toys before, but possibly not like this. This toy, patented as an “Interactive Toy”, is not just interactive with you, but with an entire ride, you are on! Essentially, the toy and the ride could communicate to add to the attraction experience through specific reactions on either (or both) the toy and/or ride.
This could mean that an action figure you’re holding on the ride could have a reaction to the ride itself, or vice versa. It could even change the story of the ride. Whether a guest has the toy or not could, hypothetically, completely change how the ride progresses. The possibilities with this patent are truly endless and it is an amazing piece of tech that we would pay a lot of money to experience.
But, as of now, none of these have made their way (fully) into the parks. They are all still “blue sky” ideas or in their developmental and testing phases. We will have to keep waiting to experience them ourselves!
Until then, keep following DFB for more Disney news!
ALL of the Disney World Rides That Interact With MagicBand+
Join the DFB Newsletter to get all the breaking news right in your inbox! Click here to Subscribe!
WE KNOW DISNEY.
YOU CAN, TOO.
Oh boy, planning a Disney trip can be quite the adventure, and we totally get it! But fear not, dear friends, we compiled EVERYTHING you need (and the things to avoid!) to plan the ULTIMATE Disney vacation.
Whether you're a rookie or a seasoned pro, our insider tips and tricks will have you exploring the parks like never before. So come along with us, and get planning your most magical vacation ever!
Which of these experiences are you most looking forward to if they become reality? Let us know in the comments!















Our handy (and portable!) ebook guides make sure you get the best deals and can plan a vacation of a lifetime.

TRENDING NOW
Disney just gave us a new confirmation for an upcoming land coming to Hollywood Studios.
Something BIG just changed in France!
These pro tips can help you start your Disney World day on a good note!
Disney Visa Cardholders have a new perk!
We found a QUICK new breakfast option in Magic Kingdom!
It is officially the holiday season at Disney Springs -- check out some of the...
The Disney Cruise Line's latest dining experience is ready to roar.
The Walt Disney Company just had their Q4 earnings call, and we have to admit...
We asked our readers from the UK what they in the United Kingdom pavilion in...
Here's a look into the Walt Disney Company's earnings report.
Disney just teased some major changes planned for Disney+ -- here's what you need to...
Check out what's on the menu this year at Holiday Duets at the DCA Festival...
You’d think saving money at Disney would be something people jump at, right? But when...
Who's ready to decorate for the holidays?! Let's go Disney fans!
Join us in celebrating the grand opening of the most iconic gingerbread house at Disney...
Trust us, you're not gonna want to forget this before your next Disney World trip!
The menus just dropped for the 2025 EPCOT International Festival of the Holidays.
Disney just made a change that makes connecting to friends and family easier through their...
Disney World just expanded an exclusive hotel perk!
Remy's Ratatouille Adventure has officially changed from 3D to 2D -- let's see the changes!